- Циркуляционные насосы
- Многоступенчатые самовсасывающие насосы
- Автоматические насосы
- Насосы для бассейнов садовых работ
- Консольные центробежные насосы
- Вертикальные центробежные насосы
- Погружные дренажные насосы станции для сточных вод
- Погружные скважинные насосы
- Бытовые насосные станции повышения давления
- Промышленные насосные станции повышения давления
- Станции пожаротушения
- Блоки управления частотные преобразователи
- DAB — Каталог продукции
- DAB — Программа подбора насосов — DNA
- DAB — Сравнение насосов разных производителей
- DAB — Опросный лист
- DAB — ПРАЙС ЛИСТ
- Пищевые насосы
- Перемешивающее оборудование
- Клапаны
- Арматура
-
Пищевой сектор
-
Фармацевтический сектор
-
Косметический сектор
-
Винодельческий сектор
-
Оливковый сектор
- Асептические соединения для емкостей
- Фармацевтические фитинги Clamp
- Асептические донные клапаны
- Теплообменники DTS
- Асептические пробоотборники
- Санитарные клапаны взятия проб
- Флакон отбора проб (Пробоотборник)
- Санитарные шаровые краны
- Дисковые поворотные затворы
- Силиконовые гибкие трубы
- Санитарные обратные клапаны
- Санитарные смотровые стекла
- Моющие головки для емкостей
- Магнитные мешалки
- Диафрагмы для клапанов
- Задвижки с обрезиненным клином
- Ножевые затворы
- Гидранты
- Поворотно-дисковые затворы
- Хомуты для врезки
- Воздушные клапаны
- Клапаны регулирования давления потока
- Кольцевые клапаны
- Конический выпускной затвор
- Обратные клапаны
- Шаровые клапаны
- Диафрагменные клапаны
- Соединительные системы
- Бескорпусная арматура — Пенштоки
- Аксессуары
K-TEP » Новости и статьи » Клапаны для пищевой промышленности
Клапаны для пищевой промышленности действуют по общему принципу, который заключается в том, что привод дистанционного управления (пневматический, электрический или гидравлический), воздействуя на шток запорного органа, прижимает плунжер к седлу клапана, запирая или переключая поток жидкости. В соответствии с этим клапаны для пищевой промышленности делятся на запорные, или отсечные и переключающие.
Запорные, или отсечные клапаны для пищевой промышленности. Рис. 1.
Над корпусом клапана для пищевой промышленности расположена мембрана. Сжатый воздух поступает через штуцер в пневмопривод, отжимает вниз мембрану, а с ней и тарелку. В этом положении образуется зазор между тарелкой и резиновым кольцом седла клапана. Таким образом входной и выходной патрубки сообщаются между собой, открывая путь для потока жидкости. После выпуска сжатого воздуха из пневмопривода, тарелка возвращается под действием пружины в исходное положение.
В этом положении тарелка пневмопривода плотно прижата к резиновому кольцу седла клапана и путь потоку жидкости перекрыт. Управление подачей сжатого воздуха в пневмопривод производится с пульта оператора. Направление потока жидкости должно быть таким, чтобы вход осуществлялся через патрубок, расположенный внизу, а выход — вверху. Это условие необходимо для того, чтобы в случае неисправности пневмопривода или поломки пружины поток жидкости нажимал на тарелку и клапан для пищевой промышленности оставался в закрытом положении.
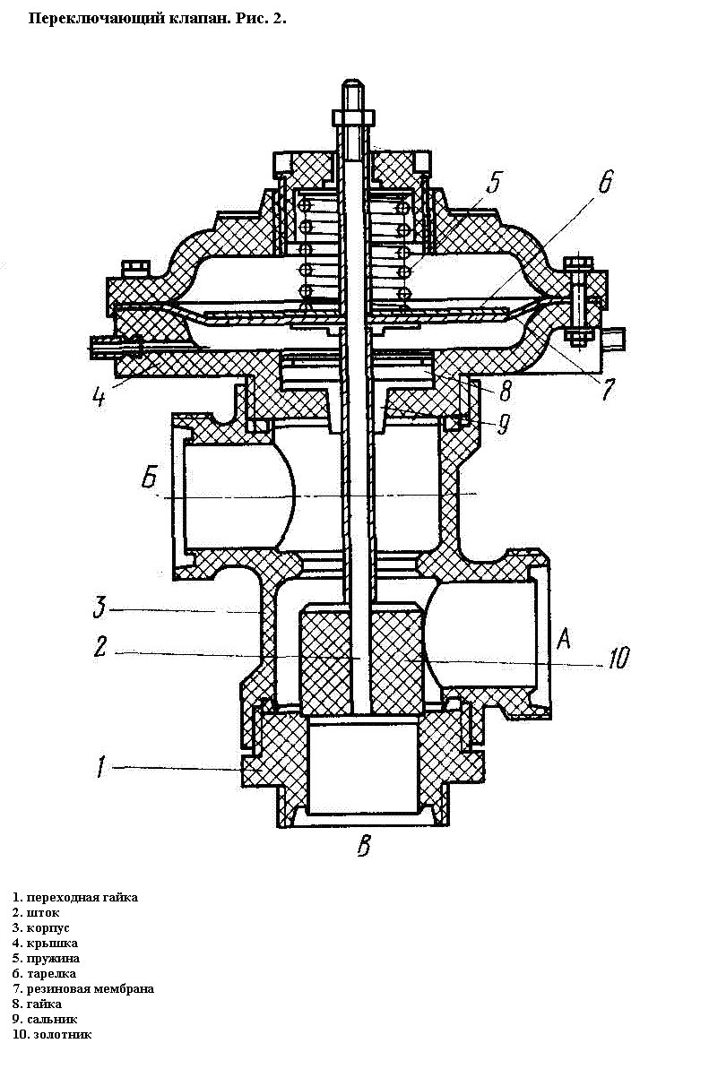
Переключающие клапаны для пищевой промышленности. Для изменения направления потока жидкости эти клапаны заменяют ручные трехходовые краны.
Конструкция переключающего клапана показана на Pис. 2.
Сжатый воздух под давлением подается из пневмосистемы в камеру под мембрану. Воздух давит на тарелку и перемещает шток с золотником вверх. При этом золотник перекрывает путь потоку жидкости из патрубка А в патрубок Б и открывает путь из патрубка А в патрубок В. Когда с помощью управляющего клапана или пневмотумблера с пульта оператора удаляют воздух из пневмопривода, золотник под действием пружины возвращается в крайнее нижнее положение. ? в этом положении перекрывается путь жидкости из патрубка А в патрубок В и открывается из патрубка А в патрубок Б.
Клапаны для пищевой промышленности
Промышленные пищевые клапаны
Одним из основных технических средств автоматизации производственных процессов в пищевой промышленности являются — клапаны для пищевой промышленности с дистанционным и автоматическим управлением. Клапаны для пищевой промышленности бывают с приводами: пневматическими, гидравлическими, электромагнитными, от электродвигателя.Клапаны для пищевой промышленности действуют по общему принципу, который заключается в том, что привод дистанционного управления (пневматический, электрический или гидравлический), воздействуя на шток запорного органа, прижимает плунжер к седлу клапана, запирая или переключая поток жидкости. В соответствии с этим клапаны для пищевой промышленности делятся на запорные, или отсечные и переключающие.
Запорные, или отсечные клапаны для пищевой промышленности. Рис. 1.
Над корпусом клапана для пищевой промышленности расположена мембрана. Сжатый воздух поступает через штуцер в пневмопривод, отжимает вниз мембрану, а с ней и тарелку. В этом положении образуется зазор между тарелкой и резиновым кольцом седла клапана. Таким образом входной и выходной патрубки сообщаются между собой, открывая путь для потока жидкости. После выпуска сжатого воздуха из пневмопривода, тарелка возвращается под действием пружины в исходное положение.
В этом положении тарелка пневмопривода плотно прижата к резиновому кольцу седла клапана и путь потоку жидкости перекрыт. Управление подачей сжатого воздуха в пневмопривод производится с пульта оператора. Направление потока жидкости должно быть таким, чтобы вход осуществлялся через патрубок, расположенный внизу, а выход — вверху. Это условие необходимо для того, чтобы в случае неисправности пневмопривода или поломки пружины поток жидкости нажимал на тарелку и клапан для пищевой промышленности оставался в закрытом положении.
Переключающие клапаны для пищевой промышленности. Для изменения направления потока жидкости эти клапаны заменяют ручные трехходовые краны.
Конструкция переключающего клапана показана на Pис. 2.
Сжатый воздух под давлением подается из пневмосистемы в камеру под мембрану. Воздух давит на тарелку и перемещает шток с золотником вверх. При этом золотник перекрывает путь потоку жидкости из патрубка А в патрубок Б и открывает путь из патрубка А в патрубок В. Когда с помощью управляющего клапана или пневмотумблера с пульта оператора удаляют воздух из пневмопривода, золотник под действием пружины возвращается в крайнее нижнее положение. ? в этом положении перекрывается путь жидкости из патрубка А в патрубок В и открывается из патрубка А в патрубок Б.
Для того, чтобы узнать стоимость пищевых клапанов, а также получить другую дополнительную информацию, пожалуйста, позвоните по телефонам указанным на сайте компании К-ТЕП, либо отправьте запрос на наш электронный ящик.
Перейти на страницу с документацией — Пищевые клапаны
Категория: Новости и статьи
Смотрите также:
Насосы - насосное оборудование DAB (Италия)
Насосы - насосное оборудование ABS International (Швеция)
Пищевое оборудование Inoxpa (Испания)
Фармацевтическое оборудование Aerre Inox S.r.l. (Италия)
Запорная арматура широкого диапазона размеров Erhard Armaturen (Германия)
Мобильная версия Главная Новости и статьи
© 2010 — 2025 K-TEP аll rights reserved





