- Циркуляционные насосы
- Многоступенчатые самовсасывающие насосы
- Автоматические насосы
- Насосы для бассейнов садовых работ
- Консольные центробежные насосы
- Вертикальные центробежные насосы
- Погружные дренажные насосы станции для сточных вод
- Погружные скважинные насосы
- Бытовые насосные станции повышения давления
- Промышленные насосные станции повышения давления
- Станции пожаротушения
- Блоки управления частотные преобразователи
- DAB — Каталог продукции
- DAB — Программа подбора насосов — DNA
- DAB — Сравнение насосов разных производителей
- DAB — Опросный лист
- DAB — ПРАЙС ЛИСТ
- Пищевые насосы
- Перемешивающее оборудование
- Клапаны
- Арматура
-
Пищевой сектор
-
Фармацевтический сектор
-
Косметический сектор
-
Винодельческий сектор
-
Оливковый сектор
- Асептические соединения для емкостей
- Фармацевтические фитинги Clamp
- Асептические донные клапаны
- Теплообменники DTS
- Асептические пробоотборники
- Санитарные клапаны взятия проб
- Флакон отбора проб (Пробоотборник)
- Санитарные шаровые краны
- Дисковые поворотные затворы
- Силиконовые гибкие трубы
- Санитарные обратные клапаны
- Санитарные смотровые стекла
- Моющие головки для емкостей
- Магнитные мешалки
- Диафрагмы для клапанов
- Задвижки с обрезиненным клином
- Ножевые затворы
- Гидранты
- Поворотно-дисковые затворы
- Хомуты для врезки
- Воздушные клапаны
- Клапаны регулирования давления потока
- Кольцевые клапаны
- Конический выпускной затвор
- Обратные клапаны
- Шаровые клапаны
- Диафрагменные клапаны
- Соединительные системы
- Бескорпусная арматура — Пенштоки
- Аксессуары
K-TEP » Новости и статьи » MVA-X Силиконовая мембрана
Все диафрагмы изготовлены из 100% силикона медицинского назначения, соответствующего следующим нормам:
- Свод федеральных правил FDA CFR 177.2600О, поставляются в соответствии с декларацией.
ПРОСЛЕЖ?ВАЕМОСТЬ
Что касается прослеживаемости, каждая диафрагма отмечена в соответствии со стандартами качества для бизнеса.
РАБОЧЕЕ ДАВЛЕН?Е
Минимум – 1 бар изб.
Максимум – 6 бар изб.
РАБОЧАЯ ТЕМПЕРАТУРА
Минимум – 10°С
Максимум 150 °C (Рекомендуется только на короткое время, например циклы стерилизации паром)
?НТЕРВАЛЫ ПРОВЕРОК
Для воды с темп. <100°C = каждые 1000 ч
Для использования на пару с макс. темп.150°C = каждые 300 ч

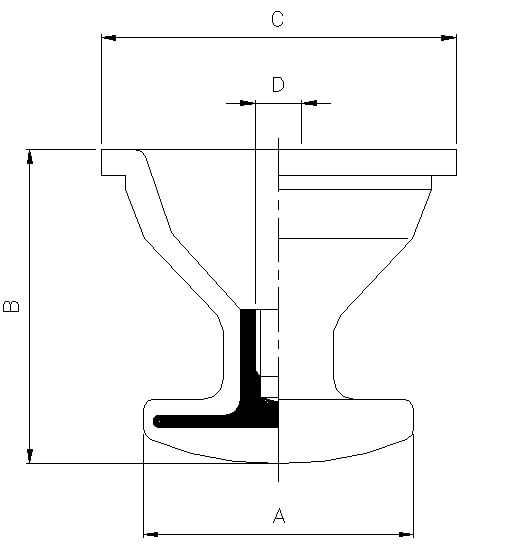
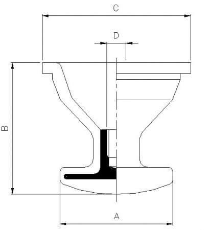
MVA-X Силиконовая мембрана
MVA-X Силиконовая мембрана
MVA-X Силиконовая мембрана донного клапана
Силиконовый эластомер Silopren LSR 2670, состоящий из двух компонентов, поставляется компанией GE Bayer Silicones и производится с помощью современной системы литья под давлением. После формовки они проходят термообработку (пост-отверждение) в течение 4 часов при 200°С в печи с принудительной вентиляцией. Они производятся четырьмя различными моделями со следующими размерами от ¾” @ 2”, на этапе формования в них вставляется специальная резьбовая втулка из AISI 316L для фиксации на штоке.Все диафрагмы изготовлены из 100% силикона медицинского назначения, соответствующего следующим нормам:
- Свод федеральных правил FDA CFR 177.2600О, поставляются в соответствии с декларацией.
ПРОСЛЕЖ?ВАЕМОСТЬ
Что касается прослеживаемости, каждая диафрагма отмечена в соответствии со стандартами качества для бизнеса.
Минимум – 1 бар изб.
Максимум – 6 бар изб.
РАБОЧАЯ ТЕМПЕРАТУРА
Минимум – 10°С
Максимум 150 °C (Рекомендуется только на короткое время, например циклы стерилизации паром)
?НТЕРВАЛЫ ПРОВЕРОК ? ТЕХОБСЛУЖ?ВАН?Я МОЖЕТ ЗАВ?С?ТЬ ОТ УСЛОВ?Й ЭКСПЛУАТАЦ??, КАК ТЕМПЕРАТУРЫ, ДАВЛЕН?Я ? Т?ПА Ж?ДКОСТ?, НО ЛУЧШЕ СОБЛЮДАТЬ СЛЕДУЮЩЕЕ:
?НТЕРВАЛЫ ПРОВЕРОК
Для воды с темп. <100°C = каждые 1000 ч
Для использования на пару с макс. темп.150°C = каждые 300 ч
ОДНАКО, НА ПОЛЬЗОВАТЕЛЕ ВСЕГДА ОСТАЕТСЯ ОТВЕТСТВЕННОСТЬ ЗА ОПРЕДЕЛЕН?Е ПОДХОДЯЩЕЙ ПРОЦЕДУРЫ С ?НТЕРВАЛАМ? ? ФОРМАЛЬНОСТЬЮ ДЛЯ ЗАМЕНЫ Д?АФРАГМЫ НА ОСНОВЕ СОБСТВЕННОГО ОПЫТА.


MVA-X Силиконовая мембрана
Категория: Новости и статьи
Смотрите также:
Насосы - насосное оборудование DAB (Италия)
Насосы - насосное оборудование ABS International (Швеция)
Пищевое оборудование Inoxpa (Испания)
Фармацевтическое оборудование Aerre Inox S.r.l. (Италия)
Запорная арматура широкого диапазона размеров Erhard Armaturen (Германия)
Мобильная версия Главная Новости и статьи
© 2010 — 2025 K-TEP аll rights reserved





